Источники производства электрической энергии
К электроэнергетическому оборудованию ТЭС и АЭС относятся турбины, а к электроэнергетическому оборудованию ГЭС — гидротурбины.
Турбогенераторы
Турбогенераторы — это синхронные электрические машины, предназначенные для выработки электрической энергии промышленной частоты в продолжительном номинальном режиме работы при их непосредственном соединении с паровыми или газовыми турбинами (рис. 2.1).
Рис. 2.1. Турбогенератор
Они устанавливаются на стационарных и передвижных тепловых, газотурбинных, атомных электростанциях и монтируются с различными видами и типами турбин. Турбогенераторы имеют двухслойные обмотки статора. Роторы турбогенераторов изготавливаются из специальной высококачественной стали.
Основные технические критерии: активная мощность, напряжение, частота вращения, коэффициент мощности cos ср, масса.
Типы турбогенераторов
В зависимости от мощности турбогенераторы подразделяются на три основные группы: мощностью 2,5—32 МВт, 60—320 МВт и свыше 500 МВт. По частоте вращения различают турбогенераторы четырехполюсные (на частоту вращения 1500 и 1800 об/мин) и двухполюсные (на частоту вращения 3000 и 3600 об/мин), соответственно на частоты сети 50 и 60 Гц.
Промышленность поставляет двухполюсные турбогенераторы мощностью 2,5; 4; 6; 12—30; 50; 60 (63); 100; 150 (160); 200; 300; 500; 800; 1200 МВт. Номинальное напряжение генераторов принимается от 6,3 до 24 кВ, коэффициент мощности — от 0,8 до 0,9. При этом номинальный ток составляет от 0,35 до 32 кА, КПД — от 95,8 %.
Турбогенераторы в зависимости от примененной системы охлаждения можно разделить на четыре типа:
- 1) турбогенераторы с полным воздушным охлаждением (ТА, ТФ, ТЗФ);
- 2) турбогенераторы с форсированным водородным охлаждением (ТВФ);
- 3) турбогенераторы с водородно-водяным охлаждением (ТВВ);
- 4) турбогенераторы с полным водяным охлаждением (ТЗВ, ТЗВА).
Турбогенераторы с водородно-водяным охлаждением серии ТВВ. В серию ТВВ входят турбогенераторы мощностью 160, 200, 220, 300, 500, 800, 1000 и 1200 МВт на 3000 об/мин и турбогенераторы мощностью 1000 МВт на 1500 об/мин.
Турбогенераторы имеют непосредственное охлаждение обмотки статора дистиллированной водой, непосредственное форсированное охлаждение обмотки ротора водородом, внешней поверхности ротора и сердечника статора — также водородом.
Турбогенераторы мощностью 160—220 МВт имеют однокорпусное исполнение статора. Турбогенераторы мощностью 300— 800 МВт имеют разъемные статоры. Корпус статора выполнен из трех частей: центральной и двух концевых. Корпус турбогенератора заполнен водородом под давлением. Охлаждающий водород циркулирует под действием двух осевых вентиляторов, установленных на валу ротора, и охлаждается в газоохладителях, встроенных в корпус генератора. Технические данные генераторов даны в табл. 2.1.
Тема 3. Основное электротехническое оборудование электрических сетей
Изучение основного электротехнического оборудования целесообразно начать с рассмотрения общей структуры электроэнергетической системы (рис. 3.1).
Рис. 3.1. Схематическое изображение электроэнергетической системы. Внизу – диаграмма распределения выработки энергии между станциями разного типа и между различного рода потребителями.
1 – линии электропередачи основной сети энергосистемы; 2 – линии электропередачи распределительной сети
Электрическая энергия вырабатывается на электрических станциях. Основная доля электрической энергии вырабатывается на тепловых электростанциях (ТЭС – тепловая электростанция, ТЭЦ — тепловая электроцентраль, ГРЭС – государственная районная электростанция), где энергия сжигаемого газа, угля или мазута используется для преобразования воды в пар, который приводит в действие турбину, вращающую генератор электрической энергии. На атомных электростанциях (АЭС) для преобразования воды в пар используется энергия расщепляемого урана. На гидравлических электростанциях (ГЭС), турбину вращает поток воды.
Учитывая требования экологии и энергосбережения, энергетики всего мира активно ведут разработки и внедрения новых способов выработки электрической энергии. Появляются электрические станции, использующие энергию солнца, ветра, морской волны и прилива. Такие электростанции относятся к группе так называемых нетрадиционных источников энергии.
Для выработки электроэнергии на мощных электростанциях необходимы соответствующие энергоресурсы, поэтому они располагаются на больших реках или вблизи мест удобного доступа к энергоресурсам (газ, уголь). Городские и промышленные электростанции меньшей мощности располагаются в непосредственной близости от потребителей. Как правило, это ТЭЦ, которые, как уже говорилось, помимо электроэнергии вырабатывают тепло, которое используется в промышленности и для обогрева зданий.
Электрическая энергия, вырабатываемая на станциях, передается через линии электропередачи и трансформаторные подстанции в города и на промышленные предприятия. Далее электроэнергия через распределительные сети поступает к электроприемникам потребителей, где преобразуется в другие виды энергии (тепловую, световую, механическую).
Рассмотрим подробнее весь путь электрической энергии от станции к электроприемнику.
3.2. Электрические станции
В начале в качестве примера рассмотрим принцип работы ТЭС. Как уже отмечалось, на тепловых электростанциях первичным энергоносителем (топливом) может служить газ, уголь, мазут. На рис. 3.2. схематично показаны все элементы конденсационной электростанции, работающей на угле.
Рис. 3.2. Схема тепловой электростанции, использующей в качестве топлива уголь.
Из бункера 1 уголь поступает в дробильную установку (мельницу) 2, где он перемалывается до пылеобразного состояния. Далее уголь вместе с воздухом из воздуходувки 3 / поступает в парогенератор (котел) 3. Теплота, получаемая при сжигании топлива, используется для преобразования воды в пар в трубопроводах 4, расположенных в парогенераторе. По системе паропроводов пар поступает в турбину 7. В турбине энергия пара преобразуется в механическую энергию вращения ротора генератора 8, вырабатывающего электрическую энергию. Отработанный в турбине пар поступает в тепловой конденсатор 10, в котором пар конденсируется и превращается в воду. Питательным насосом 13 вода подается по змеевику 5 опять в парогенератор, после чего цикл повторяется. Необходимо подчеркнуть, что вода, прежде чем использоваться в цикле вода-пар-вода, проходит специальную очистку.
Охлаждение пара в тепловом конденсаторе производится с помощью воды, поступающей в него под действием циркуляционного насоса 12. Нагретая паром в трубках конденсатора вода затем охлаждается в градирне 11. Продукты сгорания топлива (дымовые газы) проходят через очистительное сооружение (фильтр) и выбрасываются в атмосферу через трубу 6. Электрическая энергия, вырабатываемая генератором, отпускается в сеть 9.
Основное отличие атомных электростанций от тепловых заключается в том, что вместо парогенератора применяется атомный реактор, в котором энергия расщепляемого урана используется для производства пара.
Рис. 3.3. Поперечный разрез гидроэлектростанции.
ГВБ, ГНБ – горизонты (уровни) верхнего и нижнего бьефа.
На гидроэлектростанциях для вращения турбины используется энергия воды. Основные элементы ГЭС показаны на рис. 3.3. Вода из верхнего по течению реки бассейна (его называют верхним бьефом) проходит через заградительные решетки 10 в глубинный водоприемник 9 и поступает в турбинный водовод 8. Мощный поток воды поступает в спиральную камеру 5, где создается нужное давление на лопатки турбины 7, которая вращает ротор генератора 4. После турбины через отсасывающую трубу 6 вода попадает в нижний бассейн реки (нижний бьеф). Из машинного зала 3 электрическая энергия через трансформатор поступает в линию электропередачи 1. Затвор 2 служит для перекрытия водопровода в случае необходимости ремонтных работ на турбине.
Принцип действия генераторов на тепловых, атомных и гидравлических электростанциях одинаковый. Рассмотрим вначале простейшую схему, представленную на рисунке 3.4.
Рис. 3.4. Принцип получения переменного тока в генераторах (а) и диаграмма изменения электродвижущей силы на выводах генератора (б).
Переменный ток может быть получен в генераторе, состоящем из одного вращающегося двухполюсного магнита 1 и одного витка проволоки (обмотки) 2 (рис. 3.4.,а). На реальном генераторе на вращающейся части (роторе) установлены электромагниты, а неподвижные витки проволоки (обмотки) закреплены на неподвижной части (статоре). Ранее уже неоднократно упоминалось открытие электромагнитной индукции Майклом Фарадеем. Именно это открытие и позволило создать генератор электрического тока. Дело в том, что магнит создает магнитное поле, которое во время движения магнита пересекает витки проволоки, в которых в результате индуцируется электродвижущая сила (ЭДС), необходимая для упорядоченного движения электронов (рис. 3.4,б). Необходимо отметить, что в данном случае показан только принцип, в действительности обмотки имеют большее число витков и соединяются специальным образом. В нашей стране, полный оборот ротор двухполюсного турбогенератора совершает за 0,02 секунды, что соответствует скорости вращения 3000 об/мин. При этом стандартная частота генерируемого переменного тока составляет 3000/60=50 Гц. В некоторых странах номинальная частота 60 Гц, т.е. ротор вращается быстрее.
Если на генераторе установлена одна обмотка, он называется однофазным, если две – двухфазным, если три – трехфазным. На электростанциях, питающих электрические сети общего пользования, установлены трехфазные генераторы. Обмотки внутри таких генераторов располагаются так, как показано на рисунке 3.5.
Рис. 3.5. Осциллограмма напряжений на выводах трехфазного генератора.
Как видно из рисунка, обмотки внутри трехфазного генератора сдвинуты относительно друг друга. Этот сдвиг равен 120°. В результате напряжения на выводах фаз генератора сдвинуты относительно друг друга на 120°.
На однолинейных электрических схемах (схемы, на которых все элементы сети изображаются в виде условных графических обозначений), генераторы станций обозначаются символом:
Рис. 3.6. Условное обозначение генератора
От генератора электрическая энергия поступает в электрическую сеть. Обычно в электроэнергетических системах генератор соединяется с сетью через повышающий трансформатор.
Паровые турбины
Паровые турбины работают следующим образом: пар, образующийся в паровом котле, под высоким давлением, поступает на лопатки турбины. Турбина совершает обороты и вырабатывает механическую энергию, используемую генератором. Генератор производит электричество.
Электрическая мощность паровых турбин зависит от перепада давления пара на входе и выходе установки. Мощность паровых турбин единичной установки достигает 1000 МВт.
В зависимости от характера теплового процесса паровые турбины подразделяются на три группы: конденсационные, теплофикационные и турбины специального назначения. По типу ступеней турбин они классифицируются как активные и реактивные.
Конденсационные паровые турбины
Конденсационные паровые турбины служат для превращения максимально возможной части теплоты пара в механическую работу. Они работают с выпуском (выхлопом) отработавшего пара в конденсатор, в котором поддерживается вакуум (отсюда возникло наименование). Конденсационные турбины бывают стационарными и транспортными.
Стационарные турбины изготавливаются на одном валу с генераторами переменного тока. Такие агрегаты называют турбогенераторами. Тепловые электростанции, на которых установлены конденсационные турбины, называются конденсационными электрическими станциями (КЭС). Основной конечный продукт таких электростанций — электроэнергия. Лишь небольшая часть тепловой энергии используется на собственные нужды электростанции и, иногда, для снабжения теплом близлежащего населённого пункта. Обычно это посёлок энергетиков. Доказано, что чем больше мощность турбогенератора, тем он экономичнее, и тем ниже стоимость 1 кВт установленной мощности. Поэтому на конденсационных электростанциях устанавливаются турбогенераторы повышенной мощности.
Частота вращения ротора стационарного турбогенератора связана с частотой электрического тока 50 Герц. То есть на двухполюсных генераторах 3000 оборотов в минуту, на четырёхполюсных соответственно 1500 оборотов в минуту. Частота электрического тока вырабатываемой энергии является одним из главных показателей качества отпускаемой электроэнергии. Современные технологии позволяют поддерживать частоту вращения с точностью до трёх оборотов. Резкое падение электрической частоты влечёт за собой отключение от сети и аварийный останов энергоблока, в котором наблюдается подобный сбой.
В зависимости от назначения паровые турбины электростанций могут быть базовыми, несущими постоянную основную нагрузку; пиковыми, кратковременно работающими для покрытия пиков нагрузки; турбинами собственных нужд, обеспечивающими потребность электростанции в электроэнергии. От базовых требуется высокая экономичность на нагрузках, близких к полной (около 80 %), от пиковых — возможность быстрого пуска и включения в работу, от турбин собственных нужд — особая надёжность в работе. Все паровые турбины для электростанций рассчитываются на 100 тыс. ч работы (до капитального ремонта).
Схема работы конденсационной турбины: Свежий (острый) пар из котельного агрегата (1) по паропроводу (2) попадает на рабочие лопатки паровой турбины (3). При расширении, кинетическая энергия пара превращается в механическую энергию вращения ротора турбины, который расположен на одном валу (4) с электрическим генератором (5). Отработанный пар из турбины направляется в конденсатор (6), в котором, охладившись до состояния воды путём теплообмена с циркуляционной водой (7) пруда-охладителя, градирни или водохранилища по трубопроводу (8) направляется обратно в котельный агрегат при помощи насоса (9). Большая часть полученной энергии используется для генерации электрического тока.
Теплофикационные паровые турбины
Теплофикационные паровые турбины служат для одновременного получения электрической и тепловой энергии. Но основной конечный продукт таких турбин — тепло. Тепловые электростанции, на которых установлены теплофикационные паровые турбины, называются теплоэлектроцентралями (ТЭЦ). К теплофикационным паровым турбинам относятся турбины с противодавлением, с регулируемым отбором пара, а также с отбором и противодавлением.
У турбин с противодавлением весь отработавший пар используется для технологических целей (варка, сушка, отопление). Электрическая мощность, развиваемая турбоагрегатом с такой паровой турбиной, зависит от потребности производства или отопительной системы в греющем паре и меняется вместе с ней. Поэтому турбоагрегат с противодавлением обычно работает параллельно с конденсационной турбиной или электросетью, которые покрывают возникающий дефицит в электроэнергии.
В турбинах с регулируемым отбором часть пара отводится из 1 или 2 промежуточных ступеней, а остальной пар идёт в конденсатор. Давление отбираемого пара поддерживается в заданных пределах системой регулирования. Место отбора (ступень турбины) выбирают в зависимости от нужных параметров пара.
У турбин с отбором и противодавлением часть пара отводится из 1 или 2 промежуточных ступеней, а весь отработавший пар направляется из выпускного патрубка в отопительную систему или к сетевым подогревателям.
Схема работы теплофикационной турбины: Свежий (острый) пар из котельного агрегата (1) по паропроводу (2) направляется на рабочие лопатки цилиндра высокого давления (ЦВД) паровой турбины (3). При расширении, кинетическая энергия пара преобразуется в механическую энергию вращения ротора турбины, который соединен с валом (4) электрического генератора (5). В процессе расширения пара из цилиндров среднего давления производятся теплофикационные отборы, и из них пар направляется в подогреватели (6) сетевой воды (7). Отработанный пар из последней ступени попадает в конденсатор, где и происходит его конденсация, а затем по трубопроводу (8) направляется обратно в котельный агрегат при помощи насоса (9). Большая часть тепла, полученного в котле используется для подогрева сетевой воды.
Паровые турбины специального назначения
Паровые турбины специального назначения обычно работают на технологическом тепле металлургических, машиностроительных, и химических предприятий. К ним относятся турбины мятого (дросселированного) пара, турбины двух давлений и предвключённые (форшальт).
- Турбины мятого пара используют отработавший пар поршневых машин, паровых молотов и прессов, имеющих давление немного выше атмосферного.
- Турбины двух давлений работают как на свежем, так и на отработавшем паре паровых механизмов, подводимом в одну из промежуточных ступеней.
- Предвключённые турбины представляют собой агрегаты с высоким начальным давлением и высоким противодавлением; весь отработавший пар этих турбин направляют в другие с более низким начальным давлением пара. Необходимость в предвключённых турбинах возникает при модернизации электростанций, связанной с установкой паровых котлов более высокого давления, на которое не рассчитаны ранее установленные на электростанции турбоагрегаты.
- Также к турбинам специального назначения относятся и приводные турбины различных агрегатов, требующих высокой мощности привода. Например, питательные насосы мощных энергоблоков электростанций, нагнетатели и компрессоры газокомпрессорных станций и т. д.
Обычно стационарные паровые турбины имеют нерегулируемые отборы пара из ступеней давления для регенеративного подогрева питательной воды. Паровые турбины специального назначения не строят сериями, как конденсационные и теплофикационные, а в большинстве случаев изготовляют по отдельным заказам.
Воздушные линии электропередачи
Задание состоит из трех частей нарастающей сложности, требующих применения знаний и навыков по физике, математике, программированию. Каждая часть задания сопровождается кратким обзором проблемы и постановкой задачи.
Исходная информация общая для всех частей задания и включает в себя схему распределительной сети 0,4кВ, суточные графики нагрузки отдельных потребителей.
В первой части задания участники должны решить математическую оптимизационную задачу распределения нагрузок по фазам. Во второй части на основе краткого описания, включенного в задание и знаний по физике, участники должны составить алгоритм расчета электрического режима в распределительной электрической сети радиальной структуры. В третьей части участники должны совместить два разработанных ранее решения для обеспечения симметричного напряжения в заданном узле электрической сети.
Данное творческое задание может иметь множество решений, при этом, даже не оптимальные решения могут считаться приемлемыми и участвовать в конкурсе. В рамках выполнения задания участники должны продемонстрировать умения применять полученные в рамках школьного курса знания для решения прикладных задач; усваивать и применять новую информацию; реализовывать решения в виде компьютерных программ; теоретически обосновывать предлагаемые решения.
ПОНЯТИЕ ЭЛЕКТРОЭНЕРГЕТИКИ
2.1. Основное электротехническое оборудование электрических сетей
Рис. 1. Схематическое изображение электроэнергетической системы.
1 – линии электропередачи основной сети энергосистемы; 2 – линии электропередачи распределительной сети.
Электрическая энергия вырабатывается на электрических станциях. Основная доля электрической энергии вырабатывается на тепловых электростанциях (ТЭС – тепловая электростанция, ТЭЦ — тепловая электроцентраль, ГРЭС – государственная районная электростанция), где энергия сжигаемого газа, угля или мазута используется для преобразования воды в пар, который приводит в действие турбину, вращающую генератор электрической энергии. На атомных электростанциях (АЭС) для преобразования воды в пар используется энергия расщепляемого урана. На гидравлических электростанциях (ГЭС), турбину вращает поток воды.
Учитывая требования экологии и энергосбережения, внедряются электрические станции, использующие энергию солнца, ветра, морской волны и прилива. Такие электростанции относятся к группе возобновляемых источников энергии.
Для выработки электроэнергии на мощных электростанциях необходимы соответствующие энергоресурсы, поэтому они располагаются на больших реках или вблизи мест удобного доступа к энергоресурсам (газ, уголь). Городские и промышленные электростанции меньшей мощности располагаются в непосредственной близости от потребителей. Как правило, это ТЭЦ, которые, как уже говорилось, помимо электроэнергии вырабатывают тепло, которое используется в промышленности и для обогрева зданий.
Электрическая энергия, вырабатываемая на станциях, передается через линии электропередачи и трансформаторные подстанции в города и на промышленные предприятия. Далее электроэнергия через распределительные сети поступает к электроприемникам потребителей, где преобразуется в другие виды энергии (тепловую, световую, механическую).
Рассмотрим подробнее весь путь электрической энергии от станции к электроприемнику.
Электрические станции
В начале в качестве примера рассмотрим принцип работы ТЭС. Как уже отмечалось, на тепловых электростанциях первичным энергоносителем (топливом) может служить газ, уголь, мазут. На рис. 2. схематично показаны все элементы конденсационной электростанции, работающей на угле.
Рис. 2. Схема тепловой электростанции, использующей в качестве топлива уголь.
Из бункера 1 уголь поступает в дробильную установку (мельницу) 2, где он перемалывается до пылеобразного состояния. Далее уголь вместе с воздухом из воздуходувки 3 / поступает в парогенератор (котел) 3. Теплота, получаемая при сжигании топлива, используется для преобразования воды в пар в трубопроводах 4, расположенных в парогенераторе. По системе паропроводов пар поступает в турбину 7. В турбине энергия пара преобразуется в механическую энергию вращения ротора генератора 8, вырабатывающего электрическую энергию. Отработанный в турбине пар поступает в тепловой конденсатор 10, в котором пар конденсируется и превращается в воду. Питательным насосом 13 вода подается по змеевику 5 опять в парогенератор, после чего цикл повторяется. Необходимо подчеркнуть, что вода, прежде чем использоваться в цикле вода-пар-вода, проходит специальную очистку.
Охлаждение пара в тепловом конденсаторе производится с помощью воды, поступающей в него под действием циркуляционного насоса 12. Нагретая паром в трубках конденсатора вода затем охлаждается в градирне 11. Продукты сгорания топлива (дымовые газы) проходят через очистительное сооружение (фильтр) и выбрасываются в атмосферу через трубу 6. Электрическая энергия, вырабатываемая генератором, отпускается в сеть 9.
Основное отличие атомных электростанций от тепловых заключается в том, что вместо парогенератора применяется атомный реактор, в котором энергия расщепляемого урана используется для производства пара.
Рис. 3. Поперечный разрез гидроэлектростанции.
ГВБ, ГНБ – горизонты (уровни) верхнего и нижнего бьефа.
На гидроэлектростанциях для вращения турбины используется энергия воды. Основные элементы ГЭС показаны на рис. 3. Вода из верхнего по течению реки бассейна (его называют верхним бьефом) проходит через заградительные решетки 10 в глубинный водоприемник 9 и поступает в турбинный водовод 8. Мощный поток воды поступает в спиральную камеру 5, где создается нужное давление на лопатки турбины 7, которая вращает ротор генератора 4. После турбины через отсасывающую трубу 6 вода попадает в нижний бассейн реки (нижний бьеф). Из машинного зала 3 электрическая энергия через трансформатор поступает в линию электропередачи 1. Затвор 2 служит для перекрытия водопровода в случае необходимости ремонтных работ на турбине.
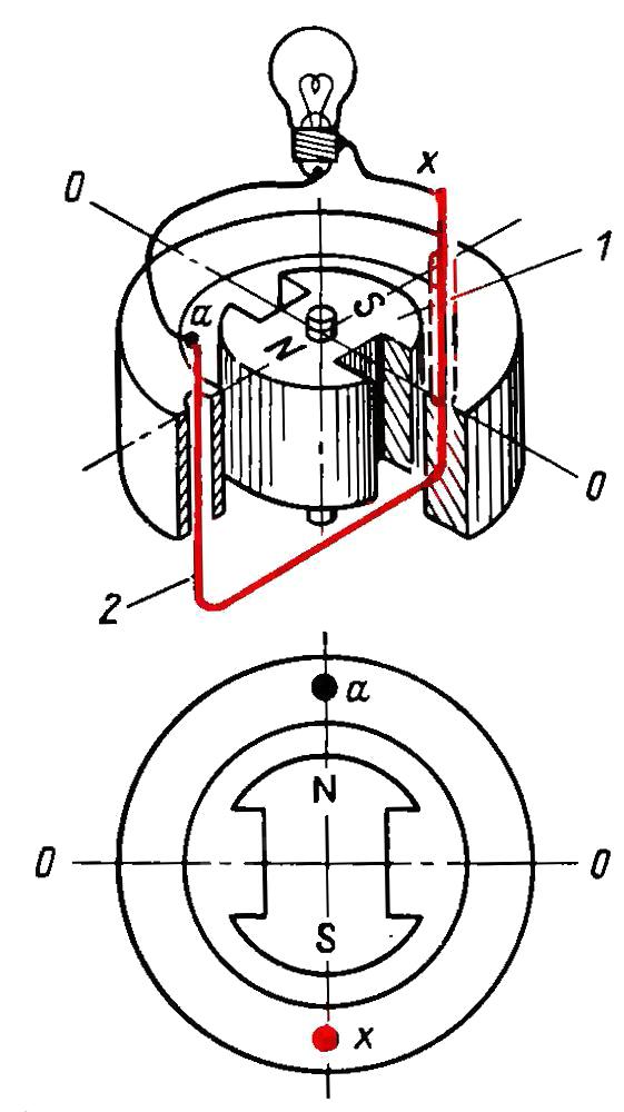
Принцип действия генераторов на тепловых, атомных и гидравлических электростанциях одинаковый. Рассмотрим вначале простейшую схему, представленную на рисунке 1.4.
![]() |
![]() |
| а) | б) |
Рис. 4. Принцип получения переменного тока в генераторах (а) и диаграмма изменения электродвижущей силы на выводах генератора (б).
Переменный ток может быть получен в генераторе, состоящем из одного вращающегося двухполюсного магнита 1 и одного витка проволоки (обмотки) 2 (рис. 4.,а). На реальном генераторе на вращающейся части (роторе) установлены электромагниты, а неподвижные витки проволоки (обмотки) закреплены на неподвижной части (статоре).
Дело в том, что магнит создает магнитное поле, которое во время движения магнита пересекает витки проволоки, в которых в результате индуцируется электродвижущая сила (ЭДС), необходимая для упорядоченного движения электронов (рис. 4,б). Необходимо отметить, что в данном случае показан только принцип, в действительности обмотки имеют большее число витков и соединяются специальным образом. В России, полный оборот ротор двухполюсного турбогенератора совершает за 0,02 секунды, что соответствует скорости вращения 3000 об/мин. При этом стандартная частота генерируемого переменного тока составляет 3000/60=50 Гц. В некоторых странах номинальная частота 60 Гц, т.е. ротор вращается быстрее.
Если на генераторе установлена одна обмотка, он называется однофазным, если две – двухфазным, если три – трехфазным. На электростанциях, питающих электрические сети общего пользования, установлены трехфазные генераторы. Обмотки внутри таких генераторов располагаются так, как показано на рисунке 5.
Рис. 5. Осциллограмма напряжений на выводах трехфазного генератора.
Как видно из рисунка, обмотки внутри трехфазного генератора сдвинуты относительно друг друга. Этот сдвиг равен 120°. В результате напряжения на выводах фаз генератора сдвинуты относительно друг друга на 120°.
На однолинейных электрических схемах (схемы, на которых все элементы сети изображаются в виде условных графических обозначений), генераторы станций обозначаются символом:
Рис. 6. Условное обозначение генератора
От генератора электрическая энергия поступает в электрическую сеть. Обычно в электроэнергетических системах генератор соединяется с сетью через повышающий трансформатор.
Трансформаторы
Электрический ток в проводах вызывает их нагрев. Мощность, расходуемая на нагрев, пропорциональна квадрату тока, протекающего через поперечное сечение провода. Чем больше ток, тем больше потери мощности и энергии в проводнике. При увеличении напряжения и неизменном токе можно увеличить передаваемую мощность по проводнику. Экономически выгоднее передавать электроэнергию на большие расстояния при высоком напряжении.
Для изменения напряжения в электрических сетях, используют трансформаторы (от лат. transformo — преобразовывать). Трансформатор осуществляет преобразование переменного тока одного напряжения в переменный ток другого напряжения без изменения частоты переменного тока.
Принципиальное устройство современного однофазного трансформатора представлено на рис. 7.
Рис. 7. Принципиальная схема трансформатора:
1 — первичная обмотка, 2 — вторичная обмотка, 3 — магнитопровод.
Трансформатор состоит из магнитопровода, который набирается из изолированных между собой листов специальной электротехнической стали. На магнитопроводе располагаются катушки с проволочными обмотками.
Обмотку, к которой подключают источник переменного напряжения, называют первичной обмоткой, а обмотка, к которой подключается нагрузка (сопротивление Rн) — вторичной обмоткой. Каждая из обмоток имеет соответствующее ей число витков w 1 и w 2.
Принцип работы трансформатора, основывается на законе электромагнитной индукция. Переменный ток i1, протекающий в первичной обмотке трансформатора, создаёт переменное магнитное поле, силовые линии этого поля концентрируются внутри магнитопровода, в результате магнитный поток Ф во вторичной обмотке оказывается таким же, как и в первичной. Изменение магнитного потока, проходящего через вторичную обмотку, возбуждает электродвижущую силу в этой обмотке. Отношение напряжений (U 1 и U 2) первичной и вторичной обмотки практически равно отношению количества витков в них (w 1 и w 2):

Обмотки трансформатора рассчитываются для подключения к сетям с разными напряжениями. Обмотка с большим числом витков рассчитывается на большее напряжение и подключается к сети высшего напряжения, такую обмотку называют обмоткой высшего напряжения (ВН). Обмотку с меньшим числом витков подключают к сети низшего напряжения, её принято называть обмоткой низшего напряжения (НН).
Если напряжение первичной обмотки ниже вторичной, то такой трансформатор называют повышающим, если наоборот, первичное напряжение больше вторичного, то понижающим. Повышающие трансформаторы устанавливают на электрических станциях, понижающие – вблизи потребителей. Трансформаторы обладают свойством обратимости, любой трансформатор может быть использован как в качестве повышающего, так и в качестве понижающего трансформатора.
Понижающий трансформатор может выполняться с двумя вторичными обмотками. Если вторичные обмотки спроектированы на одно и то же напряжение, такие обмотки называют расщепленными. Если вторичные обмотки рассчитаны на два разных напряжения, то трансформатор называется трехобмоточным. Причем у такого трансформатора помимо обмоток высшего и низшего напряжения появляется обмотка среднего напряжения (СН).
Отдельно необходимо выделить автотрансформаторы, это особый вид трансформаторов, в которых первичная и вторичная обмотки помимо магнитной связи имеют электрическую связь. Затраты материалов на сооружение автотрансформатора по сравнению с трансформатором аналогичной мощности много меньше, поэтому применение автотрансформаторов в высоковольтных сетях оказывается выгодней. Автотрансформаторы чаще изготавливаются трехобмоточными, помимо обмоток высшего и среднего напряжения имеется обмотка низшего напряжения.
В электрических сетях применяются силовые трансформаторы, называемые так вследствие их большой единичной мощности. Внешний вид силового автотрансформатора с высшим напряжением 220 кВ, средним напряжением 110 кВ и низшим напряжением 10 кВ показан на рисунке 8.
Рис. 8. Внешний вид трансформатора 220/110/10 кВ
При передаче электрической энергии от электрических станций до места потребления требуется многократная трансформация напряжения. На электрических станциях электроэнергия вырабатывается на напряжении 6-24 кВ, далее в повышающих трансформаторах напряжение повышается до уровня 110-750 кВ и передается потребителям по линиям электропередач. В местах большой концентрации потребителей электроэнергии сооружаются понизительные подстанции. На понизительных подстанциях устанавливаются понижающие трансформаторы. Напряжение понижается до уровня 6-20 кВ и далее распределяется по кабельным линиям 6-20 кВ до трансформаторных подстанций, на которых напряжение понижается до уровня 0,38 кВ. Из-за такого большого количества трансформаций суммарная мощность всех трансформаторов, установленных в электрической сети, в 7 — 8 раз превышает общую мощность генераторов, установленных на электростанциях.
На однолинейных электрических схемах силовые трансформаторы принято изображать в виде пересекающихся окружностей, количество окружностей соответствует числу обмоток трансформатора. Стрелка, пересекающая окружность (как правило, обмотку высокого напряжения), указывает на то, что трансформатор оснащен устройством регулирования напряжения под нагрузкой (РПН). Такой трансформатор способен регулировать напряжение в сети без отключения трансформатора, изменяя количество витков в одной из обмоток.
Рис. 9. Условные графические обозначения трансформаторов:
а – двухобмоточный трансформатор, б – автотрансформатор, в – трансформатор с расщепленной обмоткой, г – двухобмоточный трансформатор с устройством РПН, д – трехобмоточный трансформатор.
Линии электропередачи
В наиболее общем плане линия электропередачи (ЛЭП) определяется как «электрическая линия, выходящая за пределы электростанции или подстанции и предназначенная для передачи электрической энергии на расстояние». Это определение конкретизируется в Государственном стандарте 24291-90 «Электрическая часть электростанции и электрической сети. Термины и определения», где ЛЭП характеризуется как «электроустановка, состоящая из проводов, кабелей, изолирующих элементов и несущих конструкций, предназначенная для передачи электрической энергии между двумя пунктами энергосистемы с возможным промежуточным отбором».
В последнем определении отражается лишь один из признаков классификации ЛЭП, а именно их конструктивное исполнение. Однако для характеристики всей совокупности их разновидностей этого явно недостаточно.
На первом месте здесь стоит род тока. В соответствии с этим признаком различаются линии постоянного тока, а также трехфазного и многофазного переменного тока. Воздушные линии постоянного тока конкурируют с остальными лишь при достаточно большой протяженности и передаваемой мощности, поскольку в общей стоимости электропередачи значительную долю составляют затраты на сооружение концевых преобразовательных подстанций. Наибольшее распространение в мире получили линии трехфазного переменного тока, причем по протяженности среди них лидируют именно воздушные линии. Линии многофазного переменного тока (шести- и двенадцатифазные) в настоящее время относятся к категории нетрадиционных.
Наиболее важным признаком, определяющим различие конструктивных и электрических характеристик ЛЭП, является номинальное напряжение (Uном). К категории низкого напряжения (НН) относятся линии с номинальным напряжением менее 1 кВ. Линии с Uном>1 кВ принадлежат к разряду высокого напряжения, и среди них выделяются линии среднего напряжения (СН) с Uном = 3—35 кВ, высокого напряжения (ВН) с Uном = 110—220 кВ, сверхвысокого напряжения (СВН) с Uном = 330—750 кВ и ультравысокого напряжения (УВН) с Uном > 1000 кВ.
По конструктивному исполнению различают воздушные и кабельные линии. Воздушная линия — это линия электропередачи, провода которой поддерживаются над землей с помощью опор, изоляторов и арматуры. В свою очередь, кабельная линия определяется как линия электропередачи, выполненная одним или несколькими кабелями, уложенными непосредственно в землю или проложенными в кабельных сооружениях (коллекторах, туннелях, каналах, блоках и т.п.).
Как отмечалось ранее, на электрических станциях устанавливаются трехфазные генераторы переменного тока. Для передачи трехфазного тока необходимы три изолированных друг от друга провода, которые образуют одну цепь. По количеству параллельно проложенных цепей (пц), прокладываемых по общей трассе линии электропередачи, различают одноцепные (пц = 1), двухцепные (пц= 2) и многоцепные (пц > 2) линии.
По топологическим (схемным) характеристикам различают радиальные и магистральные линии. Радиальной считается линия, в которую мощность поступает только с одной стороны, т.е. от единственного источника питания. Магистральная линия определяется, как линия, от которой отходит несколько ответвлений. Под ответвлением понимается линия, присоединенная одним концом к другой ЛЭП в ее промежуточной точке без коммутационных аппаратов.
Последний признак классификации — функциональное назначение. Здесь выделяются распределительные и питающие линии, а также линии межсистемной связи. Деление линий на распределительные и питающие достаточно условно, так как и те, и другие служат для обеспечения электрической энергией пунктов потребления. Обычно к распределительным относят линии местных электрических сетей, а к питающим — линии сетей районного значения, которые осуществляют электроснабжение центров питания распределительных сетей. Линии межсистемной связи непосредственно соединяют разные энергосистемы и предназначены для взаимного обмена мощностью, как в нормальных режимах, так и при авариях.
Воздушные линии электропередачи
Наглядное представление о составе конструктивных элементов воздушной линии дает рис. 10.
| Рис.10. Конструктивные элементы одноцепной воздушной линии: 1 — провода фаз линии (А, В, С); 2 — защитные тросы (Т1, Т2): 3 — опора; 4 — гирлянда изоляторов; 5 — элементы арматуры; 6 — фундаменты | Естественно, главными элементами являются провода фаз линии А, В, С, непосредственно осуществляющие передачу электроэнергии. Для защиты проводов от прямых ударов молнии служат тросы, монтируемые в верхней части опор на тросостойках. Опоры предназначены для надежного поддержания проводов и тросов на определенной высоте над поверхностью земли, как при нормальной эксплуатации линии, так и в различных аварийных ситуациях. Изоляторы должны обеспечить необходимый промежуток между находящимся под напряжением проводом и заземленным телом опоры. Линейная арматура — это комплекс устройств, с помощью которых провода соединяются, закрепляются на изоляторах, а изоляторы — на опорах. Наконец, фундаменты служат для обеспечения устойчивого положения опор в пространстве. |
На рис. 11 показан участок одноцепной воздушной линии между опорами, которые по виду отличаются от показанной на рис. 3.10. Эти опоры называются анкерными, а расстояние Lамежду ними по трассе — анкерным пролетом. Такие опоры, в отличие от расположенных между ними промежуточных опор, рассчитаны на противодействие значительным силам одностороннего тяжения по проводам, возникающим при их обрыве в примыкающем к анкерной опоре промежуточном пролете длиной L, а также при монтаже проводов и тросов. Провода на анкерных опорах жестко закрепляются на натяжных гирляндах изоляторов, а на промежуточных опорах — на поддерживающих гирляндах, имеющих длину λг.Длина гирлянды тем больше, чем выше номинальное напряжение линии.
1 — поддерживающая гирлянда; 2 — натяжная гирлянда; 3 — промежуточная опора;
4 — анкерная опора
Рис. 11. Эскиз анкерного пролета ВЛ.
В промежуточном пролете провода и тросы провисают. Расстояние по вертикали между точкой подвеса на опоре и низшей точкой в пролете называется стрелой провеса. На рис. 11 стрела провеса провода обозначена fп,а троса — fт.Расстояние от низшей точки провода до земли, воды или пересекаемых объектов hгназывается габаритом линии. Оно определяется в Правилах устройства электроустановок в зависимости от Uном, характера местности и типа пересекаемого линией сооружения и для ВЛ с Uном ≤ 500 кВ, сооружаемых в ненаселенной местности, составляет 6—8 м.
В качестве материаладля изготовления опор используются древесина, железобетон и сталь. Деревянные опоры в России применяют на ВЛ с номинальным напряжением до 220 кВ включительно, хотя в США есть опыт строительства ВЛ 345 кВ на опорах из клееной древесины. Унифицированные железобетонные опоры (ЖБО) в России применяются для сооружения ВЛ с номинальным напряжением до 500 кВ включительно. Металлические опоры применяются во всем диапазоне номинальных напряжений (35—1150 кВ).
Рис. 12. Примеры опор воздушных линий электропередачи: a – одноцепная металлическая промежуточная опора 750 кВ; b – двухцепная железобетонная промежуточная опора 110 кВ;
c – одноцепная деревянная анкерная опора 110 кВ.
Изоляторы ВЛ изготавливают в основном из фарфора или закаленного стекла. Вместе с тем, в последние два десятилетия все шире начинают применяться и полимерные изоляторы. Фарфор и стекло обладают высокой стойкостью к атмосферным воздействиям, достаточно высокой механической и электрической прочностью. Стеклянные изоляторы легче фарфоровых, лучше противостоят ударным нагрузкам и не растрескиваются, а рассыпаются при пробое, что облегчает визуальное нахождение места повреждения при осмотрах линии.
Рис. 13. Виды изоляторов воздушных линий:
а — штыревой: б — подвесной тарельчатого типа; в — полимерный стержневого типа;
1 — шапка; 2 — изолирующая деталь (тарелка): 3 — стержень;
4 — цементная заделка; 5 — замок изолятора
Конструктивно различаются два вида стеклянных и фарфоровых изоляторов — штыревые и подвесные. Штыревые (рис. 13, а) применяются на ВЛ до 35 кВ включительно. Корпус изолятора имеет внутреннюю резьбу и навинчивается на металлический штырь или крюк. Подвесные изоляторы (рис. 13, б) применяются на ВЛ напряжением 35 кВ и выше. Подвесные изоляторы собираются в гирлянды. Количество изоляторов в поддерживающей гирлянде определяется в основном значением номинального напряжения линии, а также степенью загрязненности атмосферы, материалом опоры и типом изолятора. Для визуальной оценки номинального напряжения линии, полезно запомнить, что один изолятор в гирлянде может выдержать напряжение около 15 кВ. Т.е. на линию 110 кВ в гирлянду собирают 7-8 изоляторов, а на линии 330 кВ уже 19-20.
Стержневые полимерные изоляторы (рис. 13.в) представляют собой относительно новое поколение изоляции ВЛ. Основными достоинствами полимерных изоляторов являются прежде всего их высокая эксплуатационная надежность, малая масса, устойчивость к ударным механическим нагрузкам и актам вандализма (в том числе к расстрелам), удобство транспортировки и простота монтажа, а также эстетичный внешний вид.
На воздушных линиях преимущественно применяются неизолированные провода и тросы. Вместе с тем в последние три десятилетия за рубежом и в 90-е годы XX в. в России на линиях 0,4 и 6-20 кВ стали довольно широко применяться самонесущие изолированные провода (СИП), а на ВЛ 35 кВ — изолированные. Сооружение линий с такими проводами значительно дороже по сравнению с воздушными линиями с неизолированными проводами, однако их повреждаемость существенно ниже. Последним в основном и объясняется их все расширяющееся применение.
Разновидности конструкций неизолированных проводов представлены на рис. 14. Они включают как монометаллические (из меди, алюминия, стали), так и биметаллические (сталь и алюминий) провода.
Рис. 14. Конструкции неизолированных проводов:
а — однопроволочный; б — многопроволочный из одного металла (сплава);
в — многопроволочный из двух металлов (сталеалюминиевый):
г — расширенный; д — пустотелый (полый);
1 — алюминий; 2 — сталь; 3 — наполнитель.
Однопроволочные провода допускаются к применению лишь на ВЛ напряжением до 1 кВ. При более высоких номинальных напряжениях используются исключительно многопроволочные конструкции. Из монометаллических в России ограниченно применяются алюминиевые провода — главным образом в местных электрических сетях 0,4 и 6-10 кВ, где длины пролетов не превышают 100 – 150 м.
Расширенные и полые провода разрабатывались для применения на ВЛ напряжением 220 кВ и выше с целью уменьшения отрицательных последствий явления коронного разряда на проводах (потерь электроэнергии, акустического шума и помех радио- и телевизионному приему). Это явление возникает при определенной напряженности электрического поля на поверхности провода (около 30 кВ/см), которая обратно пропорциональна внешнему диаметру провода. Применение проводов обычной многопроволочной конструкции с увеличенным по этой причине диаметром неэкономично, поскольку сечение такого провода из-за явления поверхностного эффекта (плотность тока увеличивается от центра проводника к его поверхности) при протекании по нему переменного тока используется не полностью, т.е. какое-то количество материала не работает и является как бы лишним. Пустотелая конструкция позволяет избежать перерасхода цветного металла и удорожания ВЛ. Аналогичные цели преследовались и при создании расширенных проводов за счет размещения внутри многопроволочной конструкции каркасных спиралей или стеклопластиковых наполнителей.
Альтернативой применения таких достаточно сложных в изготовлении конструкций является так называемое расщепление фазы (рис. 15)на несколько составляющих,широко применяемое во всем мире для воздушных линий сверхвысокого напряжения и ультравысокого напряжения. Так, на отечественных линиях 330 кВ используется расщепление фазы на два провода. На ВЛ 500 кВ применяется «пучок» из трех проводов. На ВЛ 750 кВ используют четыре-пять проводов, а на ВЛ 1150 кВ – восемь-десятьпроводов.
Рис. 15. Примеры расщепления фазы воздушной линии 750 кВ (a) и 500 кВ (b).
В России основным используемым типом проводов для ВЛ 35-1150 кВ до настоящего времени являются биметаллические сталеалюминиевые. Они имеют стальной сердечник из одной или нескольких проволок. На этот сердечник накладываются несколько повивов алюминиевых проволок. Обозначение сталеалюминиевых проводов состоит из обозначения марки (АС) и номинальных сечений алюминиевой части и стального сердечника. Например, марка провода АС 150/24 расшифровывается следующим образом: сталеалюминиевый провод, сечение алюминия 150 мм 2 , сечение стали – 24 мм 2 .
Дата добавления: 2019-11-16 ; просмотров: 327 ; Мы поможем в написании вашей работы!














